[직무의 미래] 9. 'Death of Distance'로서의 4차 산업혁명과 '드론', 4부

  • 동아닷컴
  • 입력 2019년 8월 14일 19시 10분


IT 연구 및 비즈니스 컨설팅 커뮤니티 '오컴(대표 편석준)'은 회원들이 모여 '마이펀치라인(My Punch Line)'이라는 소규모 테이블 세미나를 수시로 열고 있습니다. 이 세상 모든 사람은 남들보다 아주 조금은 잘 아는 지혜나 지식, 경험 등을 갖고 있습니다. 이를 공유하고 공감하는 자리가 '마이펀치라인'입니다. 본지에서는 오컴과의 콘텐츠 제휴를 통해 '마이펀치라인' 세미나 내용을 요약, 공유합니다.

본 칼럼의 전체 내용을 현장 강의에서 듣고 싶으신 분은 오컴과 한국생산성본부가 함께하는 강연을 신청하시기 바랍니다. 한국생산성본부 홈페이지에서 신청하실 수 있습니다(https://bit.ly/2GcZydP).

이번 '마이펀치라인' 9회 연재는 오컴 대표인 편석준 씨가 8월 20일에 진행할 'Death of distance로서의 4차 산업혁명과 드론' 강연 내용을 본 칼럼을 통해 먼저 소개합니다. 본 칼럼으로 시리즈로 총 4편에 걸쳐 소개됩니다.

4부 - 드론, 특허로 보는 미래

1부 - 드론, 자유로운 시점 참고 (http://it.donga.com/29293/)
2부 - 드론, 물리적 공간 극복 (http://it.donga.com/29315/)
3부 - 드론, 주목 받는 스타트업 (http://it.donga.com/29362/)

미래의 드론의 활용사례를 그리며, 다양한 기업이 무수한 특허를 출원, 등록했다. 크게 5개로 분류할 수 있는데, 여기서는 대표 사례만 하나씩 살펴보겠다.

- 드론과 물류센터
- 드론과 인간의 인터랙티브
- 드론과 안전장치
- 드론의 효율적 비행기술
- 드론의 배송기술

1) 드론을 위한 다층 구조의 물류센터

특허명 : Multi-Level Fulfillment Center for Unmanned Aerial Vehicles( US9777502, Amazon)

다층구조 물류센터의 드론 출입 사례
다층구조 물류센터의 드론 출입 사례
다층구조 물류센터 내부 모습
다층구조 물류센터 내부 모습

드론을 활용하는 다층구조의 물류센터(Multi-Level Fulfillment Center)는 대도시에 위치한다. 대도시 안에 매일 수천 개의 주문을 처리할 수 있는 물류센터를 짓는다는 게 핵심이다(Unlike traditional fulfillment centers, The fulfillment centers may be located in downtown districts and/or other densely populated urban areas).

건물 모양은 직사각형이든 동그라미 형태이든 가능하나, 드론이 나갈 수 있는 구멍(aperture)이 사방으로 뚫려있어야 한다. 구멍을 통해서는 드론 뿐 아니라 화물이나 드론 운용에 필요한 장비 출입도 가능하다. 그렇다고 아무 드론이나 들어갈 수 있는 것은 아니고, 인증 받은 드론 출입만 가능할 수 있다. 전통적인 방식으로 1층 입구를 통해 화물차 등으로 상품 운송이 가능하다.

특히 꼭대기층 근처에서의 작업은 우선 배정될 수 있다. 지상과 멀어 드론 비행 소음에 의한 불편을 덜 수도 있고, 바로 비행고도에 근접하게 맞출 수 있어 배터리 소모도 줄일 수도 있기 때문이다. 낮은 층에 있던 드론을 엘리베이터를 통해 위로 올린 다음, 배터리 소모를 줄여 비행거리(배달거리)를 늘릴 수 있다.

다층구조의 물류센터는 공항의 관제탑과 장비팀의 역할을 한다. 드론이 충돌하지 않게 관리하며, 배터리 충전이나 부품 교체 등을 진행할 수 있다. 센터 내부에서의 드론 이동 작업, 배터리 교체 작업 등은 기본적으로 로봇이 하고, 인간이 보조로 개입할 수 있다.

2) 드론용 상호 언어작용 기술

특허명 : Speech interaction for unmanned aerial vehicles(US9747901, Amazon)

물건을 받기 전에 사람과 음성언어로 대화하는 드론
물건을 받기 전에 사람과 음성언어로 대화하는 드론
충돌위험 등에 대비해 사람에게 물러나라고 말하는 드론
충돌위험 등에 대비해 사람에게 물러나라고 말하는 드론

물건을 배송하는 드론이 도착지 주변(집 주변)에서 사람과 음성 대화할 수 있는 미래의 서비스다. 드론은 카메라(이미지 센서)와 적외선 센서로 집 주변의 사람이나 다른 객체를 감지할 수 있지만, 오디오 신호에서 사람 음성을 검출하고 스피커를 통해 말을 할 수도 있다.

드론은 자동음성인식(ASR)과 자연어 이해 (NLU) 기능을 갖추고, 원격 지원 서비스로 오디오 신호를 출력할 수 있다. 즉 드론이 사람과 바로 대화하거나, 드론을 통해 멀리 떨어진 관제실이나 고객센터에서도 사람과 대화할 수 있다. 특허에서 사람과 드론 간의 대화의 예로 든 사례는 다음과 같다.

- 배송물건의 착륙지점 소통
- 위험상황 시 경고 ("뒤로 물러나 주세요 - Please stay away")
- 신분확인
- 배송시간 재지정

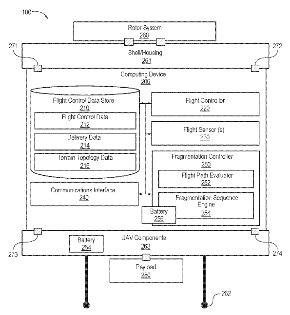
3) 비상 시 드론 자동 해체 기술

특허명 : Directed fragmentation for unmanned airborne vehicles(US9828097, Amazon)

드론의 구성
드론의 구성

드론의 해체 과정
드론의 해체 과정

배달/배송 용도로 드론 비행 시 비행운용 오류나 비행에 부적합한 기상 조건(심한 온도 변화, 바람, 비, 우박, 기압 차이 등)으로 인해 장비 오작동 등의 문제가 발생할 수 있다. 이 특허는 이때 드론이 스스로 해체하여 안전사고에 대비하기 위한 것이다.

자동 해체 시퀀스(fragmentation sequence)가 시행되면 드론은 주위 환경을 파악하며(terrain topology) 그에 맞춰 해체된 장치들을 떨어뜨린다. 주변 환경을 파악하지 않고 해체되거나 공중에서 지상으로 물건을 떨어뜨리면 인명 및 재산 피해가 심각하게 발생할 수 있다.

해체(분열) 순서는 배송품 등을 싣는 페이로드(payload, 위 그림에서 280번) → 컴포넌트(263번) → 셸/하우징(261번) → 로터 시스템(260번)으로 정한다. 배송 물건은 나무에서 떨어지고, 나머지는 연못이나 인명이나 지상시설이 없는 개방공간에 떨어진다.

4) 수직 구조물을 이용한 드론 도킹 스테이션

특허명 : Multi-use unmanned aerial vehicle docking station(US9527605, Amazon)

가로등 위의 드론
가로등 위의 드론

일반 가로등에 드론 연결장치(docking station)을 검토하는 배경은 출발지와 목적지의 중간 기착지 간 충전을 통해 배달 범위를 넓히기 위함이다. 도킹 스테이션 설치 시설물은 가로등(a conventional pole-mounted street light)에 국한되는 것이 아니라, 무선 기지국, 교회 첨탑, 사무빌딩, 주차 전용건물, 방송탑, 전봇대(cell towers, church steeples, office buildings, parking decks, radio towers, telephone/electrical poles) 등의 수직 형태의 시설물을 포괄한다. 드론 도킹 스테이션은 배터리 재충전 목적 외에도 다른 많은 영역에서 활용이 가능하다.

- 기체오류, 악천후를 대비하는 피난처로 활용
- 고객이 물건을 원하는 시점에 찾아갈 수 있는 저장소의 역할
- 무료 와이파이 설치로 도시 편의에 기여
- 드론 관리 중앙관제 시스템과 연계해 기상 정보(강수량, 풍속) 및 GPS정보 파악해 비행에 활용

5) 송장에 낙하산을 내장하여 물품 배송

특허명 : Aerial package delivery system(US9663234, Amazon)

안전한 배송을 위해 낙하산을 이용하는 드론
안전한 배송을 위해 낙하산을 이용하는 드론

드론이 지상에 착륙하지 않고도 물건을 안전하게 배송하는 방법으로, 배달상품의 송장(Shipping label)에 낙하산을 넣고 적당한 고도에서 상품을 낙하하는 방법이다. 드론이 지상에 착륙하지 않아도 되니 배터리 소모를 줄일 뿐만 아니라, 사람/사물과의 충돌 등 안전사고 방지 효과가 크다.

송장에는 낙하산뿐 아니라 물건이 정확한 위치에 착륙하게 돕는 센서와 충격 흡수 장치도 있다. 다만 낙하산은 바람의 영향을 많이 받기 때문에, 부정확한 위치에 불시착하는 걸 막기 위해 보조날개 장치를 활용할 수도 있다.

글 / 오컴 편석준 대표
정리 / 동아닷컴 IT 전문 이문규 기자
  • 좋아요
    0
  • 슬퍼요
    0
  • 화나요
    0

댓글 0

오늘의 추천영상

지금 뜨는 뉴스